Self-supporting BRAVO and STS Venetian blinds
The basis of the self-supporting blinds are guide rails, on which the entire weight of the armour lies. The representatives of this special design of exterior blinds are the BRAVO and STS self-supporting blinds. All types and sizes of slats can be used for the self-supporting blinds, except for Cetta 50. An insect mesh can also be integrated into them.
Benefits & advantages
- faster and easier assembly
- high level of shading
- thermoregulatory and protective effect
- decrease in the level of outside noise
- lower profile from the extruded aluminium
- electric control option
- decrease in the noise from the blinds.
Suitable for all types of exterior blinds with the upper profile 56 × 58 mm,
Fe. Max. width for self-supporting blinds: 2.4 m. For greater widths, the upper
profile must be fixed. For widths exceeding 2.4 m, upper profile hangers
P 002/10 will be supplied automatically. Possibility to couple up to 3 blinds.
Installation to the facade, reveal.
Standard blind dimension:
Widht (mm) | Height (mm) | Guaranteed area (m2) | |||
---|---|---|---|---|---|
min. | max. | min. | max. | max. | |
STS CLASIC Fe blind – motor | 600 | 2400 | 500 | 4000 | 16 |
STS CLASIC Fe blind – handle | 600 | 2400 | 500 | 4000 | 8 |
Attention: The upper profile hanger dimension (8 mm) will be added to the installation dimensions.

Suitable for all types of exterior blinds with the upper profile 58 × 60 mm,
Al. Max. width for self-supporting blinds: 3.5 m. For greater widths, the upper
profile must be fixed. For widths exceeding 3.5 m, upper profile hangers
P 002/11 will be supplied automatically. Possibility to couple up to 3 blinds.
Installation to the facade, reveal.
Standard blind dimension:
Width (mm) | Height (mm) | Guaranteed area (m2) | |||
---|---|---|---|---|---|
min. | max. | min. | max. | max. | |
STS CLASIC Al blind – motor | 600 | 3400 | 500 | 4000 | 16 |
STS CLASIC Al blind – handle | 600 | 3400 | 500 | 4000 | 8 |
Attention: The upper profile hanger dimension (8 mm) will be added to the installation dimensions.

Suitable for all types of exterior blinds with upper profile 58 × 60 mm, Al.
Max. width for self-supporting blinds: 4 m. Simple and fast installation.
Suitable for motorised control, possibility to couple 2 blinds.
Installation
to the facade, reveal.
Standard blind dimension:
Width (mm) | Height (mm) | Guaranteed area (m2) | |||
---|---|---|---|---|---|
min. | max. | min. | max. | max. | |
STS ALUMINIUM blind | 600 | 4000 | 500 | 4000 | 16 |
Attention: The Al brace profile is always supplied. The profile with the brace will increase the installation height by 18 mm.

Suitable for all types of exterior blinds with the upper profile 56 × 58 mm,
Fe. Max. width for self-supporting blinds: 2.4 m. For greater widths, the upper
profile must be fixed; additional holder P 009/3 will be supplied automatically.
Guide rail P 018/2 FIX is supplied pre-assembled incl. holder P 010/50; guide
rail P 016/3 is supplied pre-assembled incl. holder P 010/21.
Simple and fast
installation. Suitable for motorised control, possibility to couple up to
2 blinds.
Standard blind dimension
Width (mm) | Height (mm) | Guaranteed area (m2) | |||
---|---|---|---|---|---|
min. | max. | min. | max. | max. | |
STS FIX blind | 600 | 2400 | 500 | 4000 | 16 |
Attention: The upper profile hanger dimension (15 mm) will be added to the installation dimensions. For STS FIX, the upper profile will be automatically shorter by 25 mm on each side.

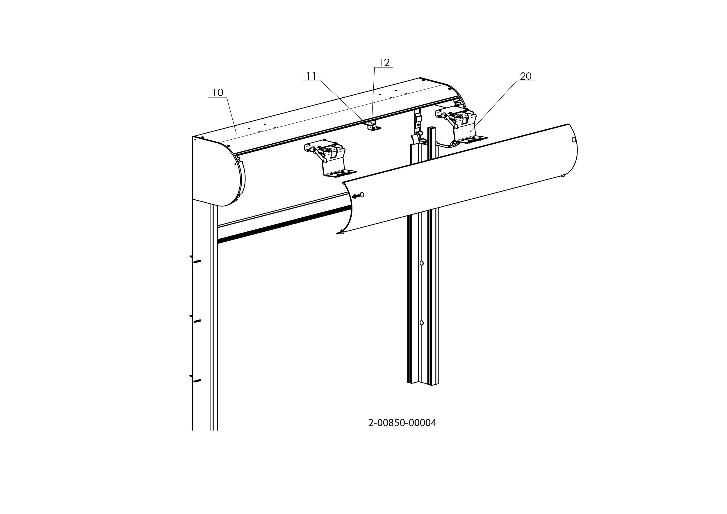
Suitable for all types of exterior blinds with the upper profile 56 × 58 mm, Fe. Blind with self-supporting rails and the possibility to integrate an insect screen. The blind’s upper profile incl. the slat pack is located in the ready-made box in a rounded version. The box sides include side boards to connect to the guide rails. The standard version is always with an 8 mm textile strip. Only with vertical lower rail. Suitable for motorised control, the motor is always located in the centre. Installation to the facade, reveal.
Standard blind dimension:
Width (mm) | Height (mm) | Guaranteed area (m2) | |||
---|---|---|---|---|---|
min. | max. | min. | max. | max. | |
Without insect screen | 600 | 3500 | 500 | 4000 | 10,5 |
With insect screen | 720 | 1800 | 500 | 2500 | 3 |
By using this version, you will save 40 mm of the box height (cover sheet height) compared to the standard version.
